FRONT CROSSMEMBER REMOVAL/INSTALLATION


id021300801000

Caution
•  Performing the following procedures could cause an open circuit in the front ABS wheel-speed sensor wiring harness if it is pulled by mistake. Before servicing, disconnect the front ABS wheel-speed sensor and set it aside so that the wiring harness will not be pulled by mistake.
•  Secure the steering wheel using tape or a cable to prevent the steering shaft from rotating after disconnecting the steering shaft. If the steering wheel rotates after the steering shaft and the steering gear and linkage are disconnected, the internal parts of the clock spring could be damaged.

1.  Remove the wheels and tires. (See WHEEL AND TIRE REMOVAL/INSTALLATION.)

2.  Remove the joint cover. (See STEERING WHEEL AND COLUMN REMOVAL/INSTALLATION.)

3.  Disconnect the intermediate shaft from the steering gear and linkage. (See STEERING WHEEL AND COLUMN REMOVAL/INSTALLATION.)

4.  Disconnect the front ABS wheel-speed sensor wiring harness installed to the steering knuckle and set it aside. (See FRONT ABS WHEEL-SPEED SENSOR REMOVAL/INSTALLATION.)

am6zzw00012611

5.  Remove the front under cover No.2. (See FRONT UNDER COVER No.2 REMOVAL/INSTALLATION.)

6.  Disconnect the wiring harness from the front crossmember. (Vehicle with i-ELOOP)

am6zzw00008428

7.  Remove the front under cover No.1. (See FRONT UNDER COVER No.1 REMOVAL/INSTALLATION.)

8.  Remove the splash shield. (See SPLASH SHIELD REMOVAL/INSTALLATION.)

9.  Set the front mudguard away from the front crossmember and front bumper. (See MUDGUARD REMOVAL/INSTALLATION.)

am6zzw00008429

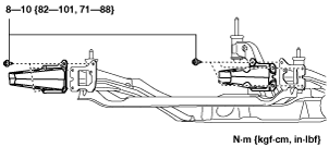
10.  Disconnect the front crossmember extension.

ac5uuw00000131

11.  Disconnect the front stabilizer control link (front stabilizer side). (See FRONT STABILIZER REMOVAL/INSTALLATION.)

ac5uuw00000128

12.  Remove the front crossmember insulator. (See EXHAUST SYSTEM REMOVAL/INSTALLATION [SKYACTIV-G 2.0, SKYACTIV-G 2.5].) (See EXHAUST SYSTEM REMOVAL/INSTALLATION [SKYACTIV-D 2.2].)

13.  Disconnect the hanger rubber from the front crossmember and set it aside.

am6zzw00008953

14.  Remove the bracket plate (No.1). (2WD)

SKYACTIV-G 2.0, SKYACTIV-G 2.5

am6zzw00014691

SKYACTIV-D 2.2

am6zzw00012928

15.  Remove the bracket plate. (4WD)

am6zzw00012943

16.  Remove the tie-rod end locknut.

Tightening torque
47—59 N·m {4.8—6.0 kgf·m, 35—43 ft·lbf}

17.  Detach the tie-rod end from the steering knuckle using the SST.

ac5uuw00000134

18.  Disconnect the front lower arm ball joint.

ac5uuw00000135

19.  Remove in the order indicated in the table.

20.  Install in the reverse order of removal. (See Suspension Links Installation Note .)

21.  Inspect the wheel alignment and adjust it if necessary. (See FRONT WHEEL ALIGNMENT.)

am6zzw00012929

1
Front crossmember component
2
Front stabilizer
3
Steering gear and linkage
4
Front lower arm
5
No.1 engine mount rubber
6
Front crossmember


Suspension Links Installation Note

1.  When installing the joint sections with rubber bushings, perform the following procedures.

(1)  Temporarily tighten the bolts with the vehicle lifted up.
(2)  Lower the vehicle to the ground and tighten the bolts to the specified torque.


Front Crossmember Component Removal Note

Warning
•  Removing the crossmember is dangerous. The crossmember component could fall and cause serious injury or death. Verify that the jack securely supports the crossmember component.

1.  Support the front crossmember component using a jack.

ac5uuw00000137

2.  Remove the front crossmember installation bolts.

3.  Remove the front crossmember, front stabilizer, front lower arm, and steering gear and linkage as a single unit.


No.1 Engine Mount Rubber and Front Crossmember Component Installation Note


2WD (SKYACTIV-G 2.0, SKYACTIV-G 2.5)

1.  When installing the front crossmember component to the vehicle, assemble the dust cover to the body-side installation area correctly to prevent water or foreign material from penetrating. Install the dust cover carefully so as not to pinch the dust cover sponge to the body-side installation area or put a fold line on the sponge by contact.

am6zzw00010934

2.  Temporarily install the bracket plate (No.1) and No.1 engine mount rubber.

am6zzw00014692

3.  Tighten the bracket plate (No.1) installation bolts in the order shown in the figure.

am6zzw00014693

No.

Tightening torque

1
84—98 N·m {8.6—9.9 kgf·m, 62—72 ft·lbf}
2
84—98 N·m {8.6—9.9 kgf·m, 62—72 ft·lbf}
3
84—98 N·m {8.6—9.9 kgf·m, 62—72 ft·lbf}

4.  Tighten the No.1 engine mount rubber installation bolts in the order shown in the figure.

am6zzw00014694

No.

Tightening torque

1
130—151 N·m {14—15 kgf·m, 96—111 ft·lbf}
2
130—164 N·m {14—16 kgf·m, 96—120 ft·lbf}


2WD (SKYACTIV-D 2.2)

1.  When installing the front crossmember component to the vehicle, assemble the dust cover to the body-side installation area correctly to prevent water or foreign material from penetrating. Install the dust cover carefully so as not to pinch the dust cover sponge to the body-side installation area or put a fold line on the sponge by contact.

am6zzw00010934

2.  Temporarily install the bracket plate (No.1) and No.1 engine mount rubber.

ac5wzw00002861

3.  Tighten the bracket plate (No.1) installation bolts in the order shown in the figure.

ac5uuw00000142

No.

Tightening torque

1
131—153 N·m {14—15 kgf·m, 97—112 ft·lbf}
2
131—153 N·m {14—15 kgf·m, 97—112 ft·lbf}

4.  Tighten the No.1 engine mount rubber installation bolts in the order shown in the figure.

ac5uuw00000139

No.

Tightening torque

1
130—151 N·m {14—15 kgf·m, 96—111 ft·lbf}
2
130—164 N·m {14—16 kgf·m, 96—120 ft·lbf}


4WD

1.  When installing the front crossmember component to the vehicle, assemble the dust cover to the body-side installation area correctly to prevent water or foreign material from penetrating. Install the dust cover carefully so as not to pinch the dust cover sponge to the body-side installation area or put a fold line on the sponge by contact.

am6zzw00010934

2.  Temporarily install the No.1 engine mount rubber and bracket plate.

am6zzw00012930

3.  Tighten the No.1 engine mount rubber and bracket plate installation bolts.

ac5uuw00000141

No.

Tightening torque

1
140—163 N·m {15—16 kgf·m, 104—120 ft·lbf}
2
55—69 N·m {5.7—7.0 kgf·m, 41—50 ft·lbf}
3
130—164 N·m {14—16 kgf·m, 96—120 ft·lbf}